绿之源环保

绿之源环保
9.天然气燃烧热值:8500kcal/Nm3;轻柴油燃烧热值:10200kcal/kg。

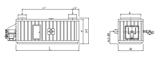
四、“三元体”热风加热炉规格型号、安装尺寸图:

序号 | 产品型号 | 热量(万Kcal/h) | 风量m3/h | 长度(L)㎜ | 宽度(W)㎜ | 高度(H)mm | L1 | L2 | h1 | a*b/mm | φa/mm |
1 | LRF-Q-15 | 15 | 13000 | 4000 | 2300 | 2240 | 400 | 3200 | 2340 | 500*2000 | 200 |
2 | LRF-Q-20 | 20 | 18000 | 4000 | 2300 | 2240 | 400 | 3200 | 2340 | 500*2000 | 200 |
3 | LRF-Q-25 | 25 | 23000 | 4000 | 2300 | 2240 | 400 | 3200 | 2340 | 500*2000 | 200 |
4 | LRF-Q-30 | 30 | 27000 | 4600 | 2600 | 2240 | 455 | 3690 | 2340 | 610*2300 | 300 |
5 | LRF-Q-35 | 35 | 32000 | 4600 | 2600 | 2240 | 455 | 3690 | 2340 | 610*2300 | 300 |
6 | LRF-Q-40 | 40 | 38000 | 4600 | 2600 | 2240 | 455 | 3690 | 2340 | 610*2300 | 300 |
7 | LRF-Q-45 | 45 | 42000 | 4600 | 2600 | 2240 | 455 | 3690 | 2340 | 610*2300 | 300 |
8 | LRF-Q-50 | 50 | 47000 | 4600 | 2600 | 2240 | 455 | 3690 | 2340 | 610*2300 | 360 |
9 | LRF-Q-55 | 55 | 51500 | 4600 | 2600 | 2240 | 500 | 3690 | 2340 | 700*2300 | 360 |
10 | LRF-Q-60 | 60 | 57000 | 4900 | 3000 | 2240 | 500 | 3900 | 2340 | 700*2700 | 360 |
11 | LRF-Q-70 | 70 | 59000 | 4900 | 3000 | 2240 | 500 | 3900 | 2340 | 700*2700 | 360 |
12 | LRF-Q-80 | 80 | 65000 | 6600 | 3400 | 2540 | 500 | 4650 | 2640 | 7003100 | 400 |
13 | LRF-Q-90 | 90 | 81000 | 6600 | 3400 | 2540 | 550 | 4700 | 2640 | 800*3100 | 400 |
14 | LRF-Q-100 | 100 | 89000 | 6600 | 3400 | 2540 | 600 | 4700 | 2640 | 900*3100 | 450 |
15 | LRF-Q-110 | 110 | 98000 | 6600 | 3400 | 2540 | 650 | 4900 | 2640 | 1000*3100 | 500 |
16 | LRF-Q-120 | 120 | 108000 | 6600 | 3400 | 2540 | 700 | 5050 | 2640 | 1100*3100 | 500 |